Des armen Admins Netzwerkdiagramm
Die Dokumentation von Netzwerktopologie kommt immer wieder zu kurz. Ein Netzwerkdiagramm zu erstellen und zu pflegen ist eine Aufgabe, die oftmals nur sehr ungern erledigt wird. Denn sie kann sehr komplex und zeitaufwendig sein. So treffen auch wir in unseren IT Security Projeken zuweilen auf nicht dokumentierte Netzwerke.
Dabei kann es ohne aktuelle und präzise Diagramme zu Problemen wie unentdeckten Schwachstellen, ineffizienten Konfigurationen und unklaren Verantwortlichkeiten kommen. Ein gründlich dokumentiertes Netzwerkdiagramm bietet nicht nur einen Überblick über die physische und logische Struktur eines Netzwerks, sondern ermöglicht auch eine schnellere Fehlerbehebung, effektivere Kapazitätsplanung und eine präzisere Identifizierung von Engpässen oder potenziellen Sicherheitslücken. Darüber hinaus erleichtert es die Kommunikation zwischen den Teammitgliedern und fördert ein besseres Verständnis für komplexe Zusammenhänge.
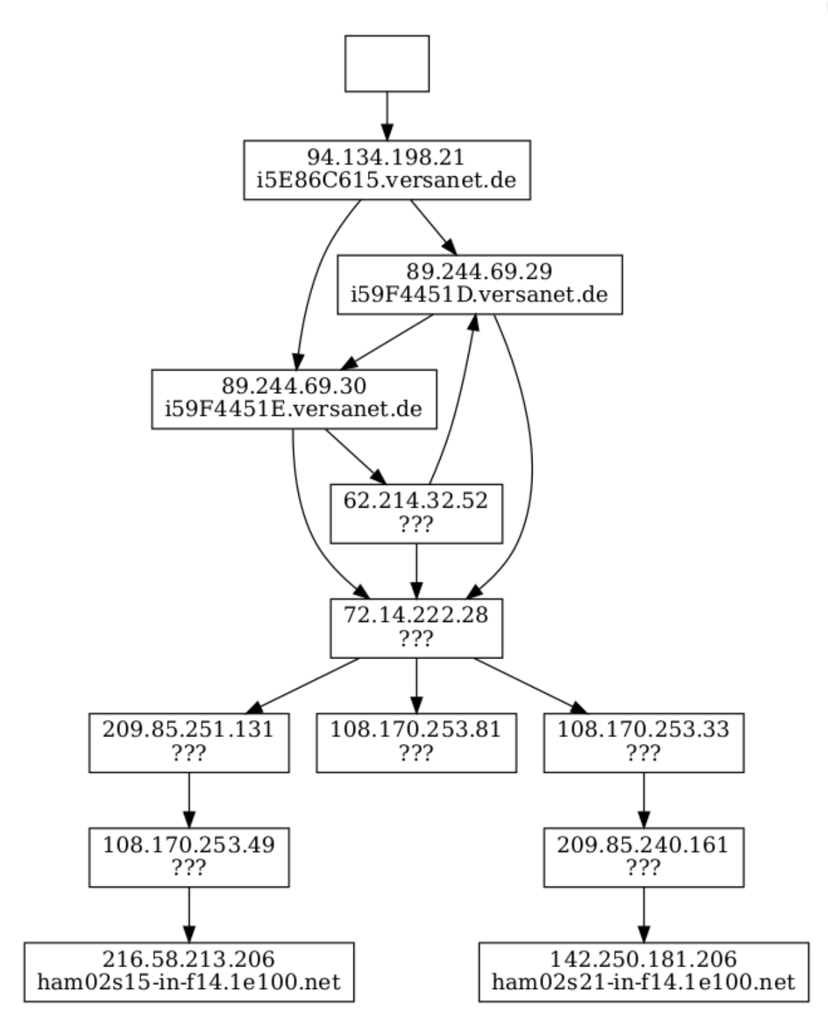
Um schnell einen Überblick über den routbaren Teil eines IP-Netzwerks zu erhalten, haben wir ein kleines Python-Skript entwickelt. Es dient als Aufklärungswerkzeug, um Strukturen zu visualisieren, die aus Rohdaten nicht unmittelbar ersichtlich sind. Von Außen auf die eigene IP Netze angewendet bietet es einen Überblick über die Systeme, die vom Internet aus sichtbar sind und wie der Paketfluss verläuft.
Die nachfolgenden Bilder zeigen das Python Skript und ein Beispiel für die FQDNs: abc.xyz, google.com und youtube.com aus Sicht eines VERSANET Kunden.





Hinterlasse einen Kommentar